欢迎来到jinnian金年会核材B2B订单网,请登录

02-1.png
  • 02-1.png
  • 02-2.png

35kV屏蔽型欧式前插头

35kV屏蔽型欧式前插头采用jinnian金年会专利技术,属于630A插头系列,适用于环网开关柜的进出线(交联电力电缆)终端,与开关柜的进出线套管座、电缆分支箱的穿墙套管、双通套管用螺栓连接。也适用于箱式变电站装置。提供电力电缆到开关柜或电缆分支箱的全绝缘,全密封连接。 前插尾部可直接用绝缘塞堵塞,也可扩展连接后插式电缆插头或后插式避雷器。 产品接口符合标准EN50181中E型套管设计及IEEE 386中35kV 630A套管接口设计。

收藏商品

产品类别
  • 产品->电力电缆附件->1-35kV可分离连接器及配套产品
应用描述
  • 1-35kV可分离连接器及配套产品

产品特点

    材料采用进口三元乙丙橡胶,其不仅具有优良的电气性能,同时抗撕裂、抗臭氧、耐氧化、抗腐蚀性能优异,机械强度高。 

    国际先进的三层注射工艺有效地保证了界面性能,最大限度的减小了局部放电。 

    屏蔽型插头的内外屏设计使得电场结构更加优化;均匀外屏蔽层,接地电阻小于5000Ω,使插头外表面有效地保持零电位,确保维护操作人员人身安全。 良好的热稳定性和热力学性能;良好的密封性能使插头可在水下运行。 

    小型化结构,更加适应箱体设计趋势。

型号:WEB 35/630-□

电气性能

额定电压

35kV

适用套管类型

E型

工频耐压(AC)

117kV/5min

局部放电

45kV,≤10pC

冲击电压

(正负极性各10次)

200kV

屏蔽电阻

≤5000Ω

适用电缆截面

50—400mm2

注:该产品满足IEC  60502.4及

GB/T  12706.4要求

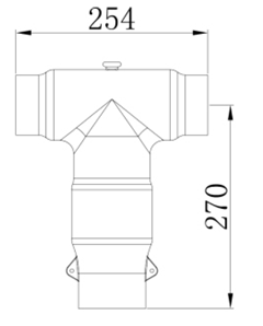
结构尺寸

blob.png

产品型号说明

图片16.png

主要配件

    插头外套、变径螺栓、应力体、六角套筒、后封帽、硅脂膏、专用端子、清洁纸、绝缘堵头


关联产品
常购商品
为您推荐
公司简介|联系我们|网站地图|隐私声明|平台协议|快递查询

物料名称

物料编码

备注*